问题描述
24点游戏是经典的纸牌益智游戏。
常见游戏规则:
从扑克中每次取出4张牌。使用加减乘除,第一个能得出24者为赢。(其中,J代表11,Q代表12,K代表13,A代表1),按照要求编程解决24点游戏。
基本要求: 随机生成4个代表扑克牌牌面的数字字母,程序自动列出所有可能算出24的表达式,用擅长的语言(C/C++/Java或其他均可)实现程序解决问题。
1.程序风格良好(使用自定义注释模板)
2.列出表达式无重复。
内容
算法分析
1.函数random_number()随机生成4个1~13范围内的整数;
2.poke()函数将生成的四个随机整数以扑克牌的形式输出(A,2,3,4,5,6,7,8,9,10,J,Q,K);
3.fun()函数进行两个数的四则运算;
4.calculate()函数计算所有情况;
5.timer()函数实现计时器功能;
6.player()函数就是玩家进行游戏:
玩家初始生命值为3,分数为0,若随机生成的四个数可以组成24并且玩家能写出其中一种表达式则可得十分,若四张牌无法完成24点或者玩家未在规定的时间内完成,则生命值减1,减到0游戏结束。
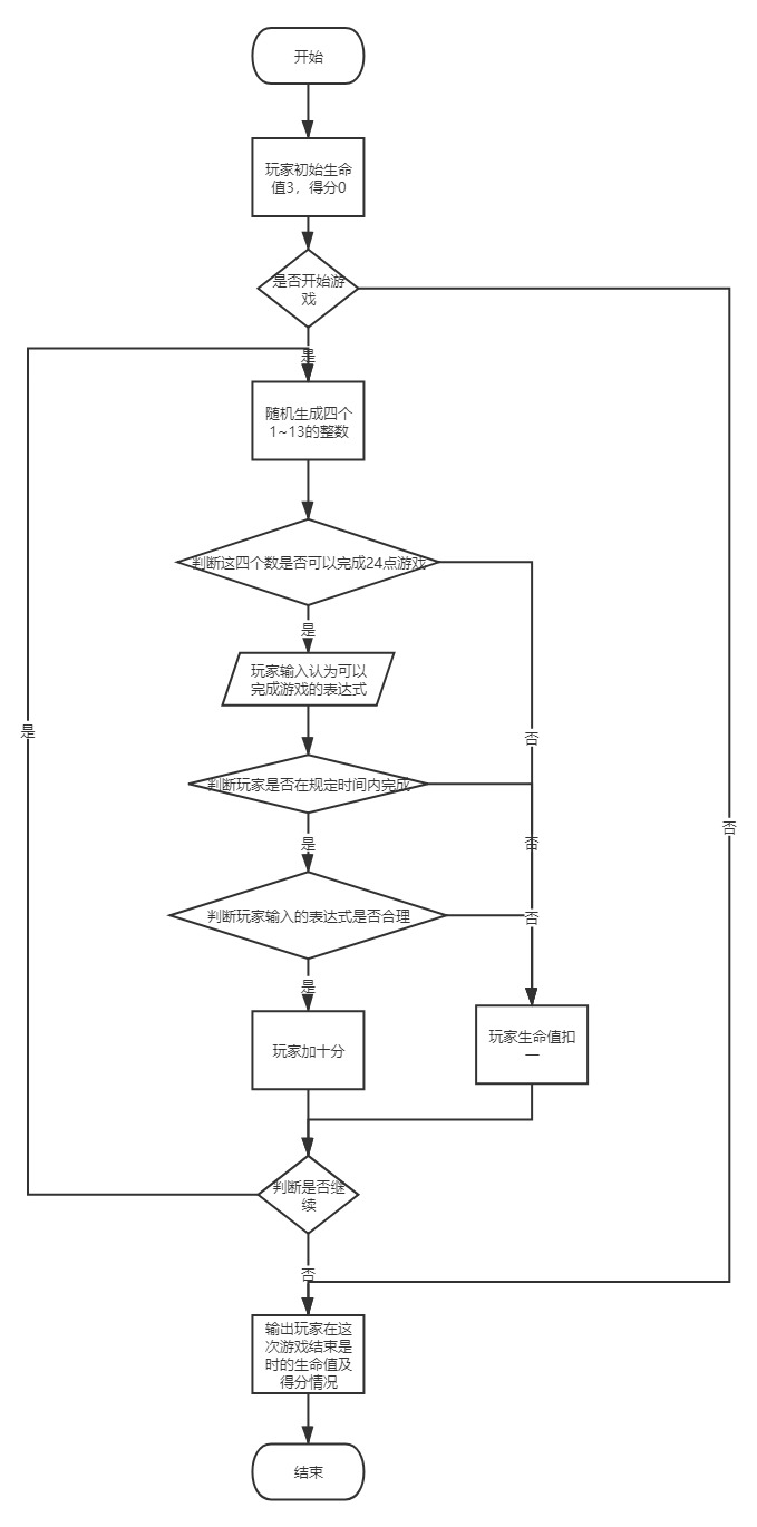
概要设计
流程图:

代码如下:
"""
@author: CheYuHang
@software: PyCharm
@file: puke.py
@time: 2021/5/9 12:35
"""import random
import timedef random_number():"""随机生成四个整数:return:"""y = []for i in range(4):y.append(random.randint(1,13))return y# def fun(k,l,i):
# """
# 两个数据之间的运算
# :param k:
# :param l:
# :param i:
# :return:
# """
# if i==0:
# tem = k+l
# return tem
# elif i==1:
# tem = k-l
# return tem
# elif i==2:
# tem = k*l
# return tem
# elif i==3:
# if l==0:
# return
# else:
# tem = k/l
# return tem
def fun(k, l, i):"""两个数据之间的运算:param k::param l::param i::return:"""if i==0:if (type(k) is int or type(k) is float) and (type(l) is int or type(l) is float):tem = k + lreturn temelse:returnelif i==1:if (type(k) is int or type(k) is float) and (type(l) is int or type(l) is float):tem = k - lreturn temelse:returnelif i==2:if (type(k) is int or type(k) is float) and (type(l) is int or type(l) is float):tem = k * lreturn temelse:returnelif i==3:if (type(k) is int or type(k) is float) and (type(l) is int or type(l) is float):if l != 0:tem = k / lreturn temelse:returnelse:returndef poker(y):"""将生成的随机数以扑克牌的形式输出:param y::return:"""y1 = y.copy()while 1 in y1 or 11 in y1 or 12 in y1 or 13 in y1:if 1 in y1:z = y1.index(1)y1.remove(1)y1.insert(z, 'A')if 11 in y1:z = y1.index(11)y1.remove(11)y1.insert(z, 'J')if 12 in y1:z = y1.index(12)y1.remove(12)y1.insert(z, 'Q')if 13 in y1:z = y1.index(13)y1.remove(13)y1.insert(z, 'K')continue# if 1 in y1:# z = y1.index(1)# y1.remove(1)# y1.insert(z, 'A')# if 11 in y1:# z = y1.index(11)# y1.remove(11)# y1.insert(z, 'J')# if 12 in y1:# z = y1.index(12)# y1.remove(12)# y1.insert(z, 'Q')# if 13 in y1:# z = y1.index(13)# y1.remove(13)# y1.insert(z, 'K')print("随机抽取的四张牌为:", y1[0], y1[1], y1[2], y1[3])# y = random_number()
# print(y)
# y = [7, 1, 11, 6]
# x = ['+', '-', '*', '/']def calculate(y):"""计算,求出符合题目要求的:return:"""result_list = []result_list2 = []temp = 0temp1 = 0temp2 = 0for i in range(0,4):for j in range(0,4):for k in range(0,4):for l in range(0,4):if i == j or i == k or i == l or j == k or j == l or k == l:continueelse:for n in range(0,4):for m in range(0,4):for p in range(0,4):for q in range(0,6):result = 0if q == 0:temp1 = fun(y[i], y[j], n)temp1 = fun(temp1, y[k], m)result = fun(temp1, y[l], p)if result==24:result_list.append("(({0}{1}{2}){3}{4}){5}{6}=24".format(y[i], x[n], y[j], x[m], y[k],x[p], y[l]))result_list2.append("(({0}{1}{2}){3}{4}){5}{6}".format(y[i], x[n], y[j], x[m], y[k],x[p], y[l]))# print("(({0}{1}{2}){3}{4}){5}{6}=24".format(y[i], x[n], y[j], x[m], y[k],# x[p], y[l]))temp += 1#breakcontinueelif q == 1:temp1 = fun(y[i], y[j], n)temp2 = fun(y[k], y[l], p)result = fun(temp1, temp2, m)if result == 24:result_list.append("({0}{1}{2}){3}({4}{5}{6})=24".format(y[i], x[n], y[j], x[m], y[k],x[p], y[l]))result_list2.append("({0}{1}{2}){3}({4}{5}{6})".format(y[i], x[n], y[j], x[m], y[k],x[p], y[l]))# print("({0}{1}{2}){3}({4}{5}{6})=24".format(y[i], x[n], y[j], x[m], y[k],# x[p], y[l]))temp += 1#breakcontinueelif q == 2:temp1 = fun(y[j], y[k], m)temp1 = fun(y[i], temp1, n)result = fun(temp1, y[l], p)if result == 24:result_list.append("({0}{1}({2}{3}{4})){5}{6}=24".format(y[i], x[n], y[j], x[m], y[k],x[p], y[l]))result_list2.append("({0}{1}({2}{3}{4})){5}{6}".format(y[i], x[n], y[j], x[m], y[k],x[p], y[l]))# print("({0}{1}({2}{3}{4})){5}{6}=24".format(y[i], x[n], y[j], x[m], y[k],# x[p], y[l]))temp += 1# breakcontinue# elif q==3:# temp1 = fun(y[k], y[l], m)# temp2 = fun(y[i], y[j], p)# result = fun(temp1, temp2, n)# if result == 24:## print("({0}{1}{2}){3}({4}{5}{6})=24".format(y[i], x[n], y[j], x[m], y[k],# x[p], y[l]))# temp += 1# breakelif q == 3:temp1 = fun(y[j], y[k], m)temp1 = fun(temp1, y[l], p)result = fun(y[i], temp1, n)if result == 24:result_list.append("{0}{1}(({2}{3}{4}){5}{6})=24".format(y[i], x[n], y[j], x[m], y[k],x[p], y[l]))result_list2.append("{0}{1}(({2}{3}{4}){5}{6})".format(y[i], x[n], y[j], x[m], y[k],x[p], y[l]))# print("{0}{1}(({2}{3}{4}){5}{6})=24".format(y[i], x[n], y[j], x[m], y[k],# x[p], y[l]))temp += 1#breakcontinueelif q == 4:temp1 = fun(y[k], y[l], p)temp1 = fun(y[j], temp1, m)result = fun(y[i], temp1, n)if result == 24:result_list.append("{0}{1}({2}{3}({4}{5}{6}))=24".format(y[i], x[n], y[j], x[m], y[k],x[p], y[l]))result_list2.append("{0}{1}({2}{3}({4}{5}{6}))".format(y[i], x[n], y[j], x[m], y[k],x[p], y[l]))# print("{0}{1}({2}{3}({4}{5}{6}))=24".format(y[i], x[n], y[j], x[m], y[k],# x[p], y[l]))temp += 1#breakcontinuereturn temp, result_list, result_list2# if temp == 0:# print("这四张牌无法完成24点游戏")# else:# print()def timer():"""计时器:return:"""return time.perf_counter()def player():"""玩家进行游戏:return:"""hit_point = 3score = 0print("==================================================")print("== 24点游戏 ==")print("==游戏玩家开始时的血量为:{0} ==".format(hit_point))print("==游戏玩家开始时的分数为:{0} ==".format(score))print("==是否开始游戏:Y or N ==")print("==================================================")use = input()while use == 'Y':y = random_number()poker(y)result, result_list, result_list2 = calculate(y)if result == 0:print("这四个数无法完成24点游戏,生命值扣一")hit_point -= 1if hit_point !=0:print("你当前的生命值为:{0} 是否继续:Y/N".format(hit_point))use = input()else:print("生命值为0,游戏结束")break# breakcontinueelif result != 0:print("请玩家输入正确表达式:(A为1,J为11,Q为12,K为13)")# for i in result_list:# print(i)start_time = timer()player_expression = input()end_time = timer()if end_time-start_time <= 10:if player_expression in result_list2:print("回答正确,加十分")score += 10print("这四张牌所有的组合为:")for i in result_list:print("{0}".format(i))print("是否继续:Y/N")use = input()else:print("回答错误:生命值扣一")hit_point -= 1if hit_point != 0:print("你当前的生命值为:{0} 得分为{1}".format(hit_point, score))print("这四张牌所有的组合为:")for i in result_list:print("{0}".format(i))print("是否继续:Y/N")use = input()else:print("生命值为0,游戏结束")break# print("这四张牌所有的组合为:")# for i in result_list:# print("{0}".format(i))# print("是否继续:Y/N")# use = input()else:print("未在规定时间内答完,生命值减一")hit_point -= 1print("是否继续:Y/N")use = input()continue# continueprint("你最后的生命值为:{0};最终得分为:{1}".format(hit_point, score))# y = random_number()
# # y = [5,9,3,7]
# x = ['+', '-', '*', '/']
# poker(y)
# calculate(y)x = ['+', '-', '*', '/']
player()
测试
测试的时候出现这个错误:unsupported operand type(s) for +: ‘NoneType’ and ‘int’

将fun()函数进行了修改:

调试
运行程序:出现游戏页面

玩家输入Y进行游戏,这时,会自动生成四张扑克,电脑自动判断这四个数是否可以完成24点游戏,若可以完成,则需要玩家在规定的时间内完成一个表达式的输入,若输入合理,则得10分并输出所有可能的表达式,若输入不合理或者未在规定时间内完成,则扣1点生命值,如果生命值为0或者玩家不继续进行游戏,则游戏结束:



玩家未在规定时间内完成:

第二次测试:


心得体会
在做的过程中,比较难得就是这四个随机数和四个运算符能有多少种排列组合,最后在比较下,使用括号对四个数进行分类比较合适(共四种情况)。
在处理那个异常的情况下,在网上找资源,以及查阅资料,将那个异常解决了,这个是最花费时间的。















