第7章:OFDM 信道估计与均衡(1)

article/2025/10/15 22:02:29

第7章(1)内容如下:

  • 一、OFDM相关书籍
  • 二、OFDM基本原理
  • 三、OFDM经过高斯白噪声信道的误码率分析
  • 三、总结

本人最近搞懂了OFDM的一些知识,便给本章取名为第7章——OFDM信道估计、均衡。本文所有代码下载地址是:123kevin456/OFDM-

一、OFDM相关书籍

OFDM书籍随便一查有非常多,缺少均衡、同步相关的代码实现,便难体会一些通信过程。我最近正在看的两本OFDM书籍,都是理论+代码结合来讲解,推荐给你。

1、《MIMO-OFDM无线通信技术及MATLAB实现》

此书最大特点便是有MATLAB源代码下载!下载!!下载!!!但由于代码版本可能老旧,因此需要偶尔改改代码适应新的MATLAB版本才可以正常运行。我试过OFDM的几个代码,结果还是不错的。

2、《Simulation and Software Radio for Mobile Communications》

此书我目前还没有发现中文版本,因此直接看的英文版本。这本书介绍了PSK调制、OFDM、CDMA、多址接入协议等内容的仿真,均有MATLAB源代码。

就OFDM来说,第1本书比第2本书,难度更大,且在均衡、同步,比如载波同步、位定时同步等内容,讲得更加详细。由于难度太大,我已琢磨许久,偶有所得,便在此更新

因此,本次文章后面分享的MATLAB可运行代码主要参考是第2本书。

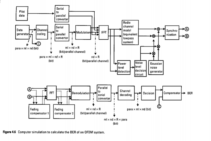
二、OFDM基本原理

关于OFDM原理的基本介绍,知乎上的 @子木在其《OFDM完整仿真过程及解释(MATLAB)》 已经介绍非常清楚了,本系列文章主要是作为补充,尤其是将OFDM经过瑞利信道时的误码率性能仿真,以及如何通过信道估计来对信道进行补偿(compensation)

img

图1 OFDM仿真系统框图

在这次的OFDM仿真中,为方便调试程序,首先做如下假设:
(1)调制:采用QPSK调制,可自己编写,也可以使用系统自带的pskmod函数;

(2)信道编码:一般采用(2,1,7)卷积码,本次仿真无编码;

(3)没有上载波与下载波过程,同时也没有发送端的上采样,接收端的匹配滤波,寻找最佳采样点过程;

待最基本的程序仿真正确后,再对其加入相应模块,以做完善。

三、OFDM经过高斯白噪声信道的误码率分析

本次仿真主要集中在将OFDM信号经过瑞利信道,是否有均衡,来观察误码率情况。

当然,在经过瑞利信道之前,不妨先测试一下OFDM在高斯白噪声信道下的传输。代码无误后,再将信道改成瑞利衰落信道。

先给出主要代码,各个函数的代码附在最后:

%%%%%%%%%%%%%%%%%%%%% OFDM仿真 %%%%%%%%%
%%%%%%%%%%%%%%%%%%%%% ofdm.m  %%%%%%%%%
%%%%%%%%%  date:2020年10月11日  author:飞蓬大将军 %%%%%%%%%%%%%%%程序说明
%%%高斯白噪声信道下OFDM传输%%%%    仿真环境
%软件版本:MATLAB R2019a%********************** 程序主体 ************%%%%%%%%%%%%%%%%%%%%%%  参数设置   %%%%%%%%%%%%%%%%%%%
para = 128;   %Number of parallel channel to transmit
fftlen = 128;  %FFT length
noc = 128;    %Number of carrier 
nd = 6;  %Number of information OFDM symbol for one loop
ml = 2;   %Modulation:QPSK
sr = 250000;  %Symbol rate 符号速率
br = sr.*ml;  %Bit rate per carrier
gilen = 32; %length of guard interval ebn0_temp = 3:1:10;
for kkk = 1:length(ebn0_temp)ebn0 = ebn0_temp(kkk);  %Eb/No 
% ebn0 = 8;  %Eb/Nonloop = 10000; %Number of sumulation loops 
noe = 0;   %Number of error data  
nod = 0;   %Number of transmitted data 
eop = 0;   %Number of error packet  
nop = 0;   %Number of transmitted packetfor iii = 1:nloop%%%%%%%%%%%%%%%%%  发射机  %%%%%%%%%%%%%%%%%%%seldata = rand(1,para*nd*ml)>0.5;  %串行数据paradata = reshape(seldata,para,nd*ml); %串并转换[ich,qch] = qpskmod(paradata,para,nd,ml); %调制kmod = 1/sqrt(2);ich1 = ich.*kmod;qch1 = qch.*kmod;%%%%%%%%%%%% IFFT %%%%%%%%%%x = ich1 + qch1 *1j;spow1 = sum(sum(ich1.^2+ qch1.^2))/nd./para;y = ifft(x);ich2 = real(y);qch2 = imag(y);spow2 = sum(sum(ich2.^2+ qch2.^2))/nd./para;%%%%%%%% 添加保护间隔 %%%%%%%%[ich3,qch3] = giins(ich2,qch2,fftlen,gilen,nd);fftlen2 = fftlen + gilen;%     figure(1);
%     plot(ich3,'-+');
%     hold on;%****************  Attenuation Calculation **************spow = sum(ich3.^2+ qch3.^2)/nd./para;attn = 0.5*spow*sr/br*10.^(-ebn0/10);attn = sqrt(attn);%%%%%%%%%%%%%%%%%%%%%%%  接收机  *************%%%%%%%%%%%%%%%%% AWGN addition *******************[ich4,qch4] = comb(ich3,qch3,attn);%     plot(ich4,'-*');%%%%%%%% 去掉保护间隔 %%%%%%%%[ich5,qch5] = girem(ich4,qch4,fftlen2,gilen,nd);%%%%%%%%%%%%%%  FFT %%%%%%%%rx = ich5 + qch5.*1i;ry = fft(rx);ich6 = real(ry);qch6 = imag(ry);%%%%%%%%%%%%%% demoluation %%%%%%%%%%%%%%ich7 = ich6./kmod;qch7 = qch6./kmod;demodata = qpskdemod(ich7,qch7,para,nd,ml);%%%%%%%%%%%%%% 并串转换 %%%%%%%%%demodata1 = reshape(demodata,1,para*nd*ml);%%%%%%%%%%%%%%% Bit Error Rate %%%%%%%%%%%noe2 = sum(abs(demodata1-seldata));nod2 = length(seldata);%%%%cumulative the number of error and data in noe and nodnoe = noe + noe2;nod = nod + nod2;%%%计算PERif noe2~=0eop = eop +1;
%     else
%         eop = eop;endnop = nop + 1;
%     fprintf('%f\t%e\t%d\n',iii,noe2/nod2,eop);
end%**************   output result *************
per = eop/nop;
ber = noe/nod;fprintf('%f\t%e\t%e\t%d\t\n',ebn0,ber,per,nloop);
fid = fopen('BERofdm.dat','a');
fprintf(fid,'%f\t%e\t%e\t%d\t\n',ebn0,ber,per,nloop);
fclose(fid);end%************************* 画误码率曲线进行对比 ******************%
% ebn0 = 3:1:10;
% awgn_theory = [0.0228784075610853,0.0125008180407376,0.00595386714777866,0.00238829078093281,0.000772674815378444,0.000190907774075993,3.36272284196176e-05,3.87210821552205e-06];
% awgn_no_compensation = [3.698496e-02,2.254329e-02,1.226654e-02,5.823633e-03,2.305339e-03,7.492187e-04,1.757812e-04,3.170573e-05];
% rayleign_one_path_theory = [0.125000000000000,0.100000000000000,0.0833333333333333,0.0714285714285715,0.0625000000000000,0.0555555555555556,0.0500000000000000,0.0454545454545455]; 
% 
% semilogy(ebn0,awgn_theory,'-*',ebn0,awgn_no_compensation,'-+');
% xlabel('比特信噪比');
% ylabel('误码率');
% title('不同信噪比下误码率仿真曲线');
% legend('理论曲线','实验曲线');
% grid on;%***********   高斯白噪声下的OFDM采用QPSK调制的误码率值 **********%%%%%%%%%%%%%%%%%%%%%%%%      理论值          **************%
%%%%%%%%%%%%%     EbN0(dB)      误码率        
%%%%%%%%%%%%%       3        0.0228784075610853
%%%%%%%%%%%%%       4        0.0125008180407376
%%%%%%%%%%%%%       5        0.00595386714777866
%%%%%%%%%%%%%       6        0.00238829078093281
%%%%%%%%%%%%%       7        0.000772674815378444
%%%%%%%%%%%%%       8        0.000190907774075993
%%%%%%%%%%%%%       9        3.36272284196176e-05
%%%%%%%%%%%%%      10        3.87210821552205e-06%%%%%%%%%%%%%%%%%%%%%        实验值        *******%%%%%%%%%%%%
%%%%%%%%%%%%%      EbN0(dB)      误码率         误包率        循环次数
% % % % % % % % % 3.000000	3.698496e-02	1.000000e+00	10000	
% % % % % % % % % 4.000000	2.254329e-02	1.000000e+00	10000	
% % % % % % % % % 5.000000	1.226654e-02	1.000000e+00	10000	
% % % % % % % % % 6.000000	5.823633e-03	9.999000e-01	10000	
% % % % % % % % % 7.000000	2.305339e-03	9.709000e-01	10000	
% % % % % % % % % 8.000000	7.492187e-04	6.837000e-01	10000	
% % % % % % % % % 9.000000	1.757812e-04	2.384000e-01	10000	
% % % % % % % % % 10.000000	3.170573e-05	4.780000e-02	10000	    %%%%%%%%%%%%%%%%%   结论    %%%%%%%%%%%%%%%%%%%%
%完成了OFDM经过高斯白噪声信道的误码率仿真
%由于OFDM中引入保护间隔,是一种冗余信息,因此相比于理论误码率曲线有10*log(160/128)=0.969dB的损失
%对应到误码率曲线上,即本实验误码率曲线相比理论误码率曲线向右平移0.969dB
%2020年11月7日   

img

图2 OFDM采用QPSK在AWGN下的误码率曲线图

在上面的代码中,注意两点:

(1)当信号经过FFT之后,或者IFFT之后,功率会发生变化,这是为什么呢?功率的数量关系如何?

由N点DFT的表达式,知: X ( k ) = ∑ n = 0 N − 1 x ( n ) e − j 2 π N k n , k = 0 , 1 , ⋯ , N − 1 X\left( k \right) = \sum\limits_{n = 0}^{N - 1} {x\left( n \right){e^{ - j\frac{{2\pi }}{N}kn}}} ,k = 0,1, \cdots ,N - 1 X(k)=n=0N1x(n)ejN2πkn,k=0,1,,N1

为理解信号经过FFT前后功率发生的变化,联想到概率论中的公式: D ( a x + b y ) = a 2 D ( x ) + b 2 D ( y ) D\left( {ax + by} \right) = {a^2}D\left( x \right) + {b^2}D\left( y \right) D(ax+by)=a2D(x)+b2D(y)

因为 E { x ( 0 ) 2 } = E { x ( 1 ) 2 } = ⋯ = E { x ( N − 1 ) 2 } E\left\{ {x{{\left( 0 \right)}^2}} \right\} = E\left\{ {x{{\left( 1 \right)}^2}} \right\} = \cdots = E\left\{ {x{{\left( {N - 1} \right)}^2}} \right\} E{x(0)2}=E{x(1)2}==E{x(N1)2}

所以有: E { X ( k ) 2 } = N ∙ E { x ( 0 ) 2 } E\left\{ {X{{\left( k \right)}^2}} \right\} = N \bullet E\left\{ {x{{\left( 0 \right)}^2}} \right\} E{X(k)2}=NE{x(0)2}

即信号经过FFT之后,功率变为原来的N倍。同理可以得到,信号经过IFFT后,功率变为原来的 1 N \frac{1}{N} N1

这样你便能理解ofdm.m代码中,发送端在经过IFFT后,才计算信号功率spow,再根据信噪比和spow,去计算相应的噪声功率

(2)仿真曲线相比于理论曲线看起来是向右平移的关系,所以是平移的关系码?如果是平移,那到底是平移了多少dB呢?

由于在本次仿真中,所有子载波采用相同的调制方式。当然,没有规定就说所有的子载波一定要采用相同的调制方式。

因此,既然子载波是采用相同的QPSK调制方式,那么理论线就是QPSK的误码率曲线,QPSK和2PSK的误码率曲线是一样的。

如果对QPSK和2PSK的误码率曲线是否一致,还未想清楚的话,请点击《陈老湿:问答交流1:采用过采样的原因》,看问题2的解释。

结合《第二章:线性分组码》中讲过信息比特与信道比特的关系。在上面的代码中,由于加入了保护间隔,保护间隔是采用循环前缀(Cyclic Prelix,CP)方式,即将OFDM符号中的后一部分进行复制,加入到OFDM前面,构成一个完整的OFDM符号。

复制的这一段信号,占用了功率资源,没有用来发送新的信息比特,因此便有了功率损失。注意到子载波数目是128,CP长度是32,即CP长度占整个OFDM符号长度的1/5。

举个数值例子方便你理解,本来你有1w的功率用来发送1个比特,现在你只能有0.8w用来发这个比特了,因为还有0.2w要用去给CP了。

所以相比下来会损失:10log10(1)-10log10(4/5)=0.9691dB。对应到本次实验中,即实验曲线会相比理论曲线有向右平移0.9691dB。

你也可以根据《第二章:线性分组码》中Eb/N0与SNR的换算关系,来将实验曲线进行向左平移0.9691dB,便可发现二者相近了。

那么问题来了,CP有什么用呢?CP的长度如何取呢?(思考几秒钟?)

在多径信道中,当信号带宽大于无线信道的相干带宽时,链路会受到多径衰落的影响,从而造成ISI(符号间干扰)。插入CP,可以避免ISI。当然,这要求CP的长度要大于最大多径时延扩展。

上面这段话,我不知道你看着是什么感觉?书上都是这么写的,以及上课老师也是这么讲的?但都没有说清楚为什么CP长度大于最大多径时延扩展,便可以避免ISI。

最大多径时延扩展,可以理解对一个符号最晚到达路径相对于最早到达路径的时间差。

下面从数学表达式来帮助你理解,这需要你有循环卷积线性卷积的概念。

img

如图4.14所示,如果保护间隔长度小于最大多径时延扩展,对于前一个OFDM符号的尾部已经影响到下一个OFDM符号的前端,这样就造成ISI。在实际中,可能会出现符号定时偏差(STO),STO会使OFDM信号的前端和FFT窗的起始点不一致。

如图4.15所示,若CP的长度大于最大多径时延扩展,也可能会出现ISI和ICI(子载波干扰),这取决于FFT的起始点的定时。如果FFT窗的起始点早于时延的前一个符号末端,则会出现ISI,如果FFT窗的起始点晚于符号的起始点,既会出现ISI,又会出现ICI。

因此,在本次的AWGN信道仿真中,如果不加入保护间隔,也是可以的,加入CP对AWGN信道来说没起到实际的用处。如果你把保护间隔去掉,便就可以得到误码率的实验曲线和理论曲线非常接近了。

img

img

因此,当保护间隔采用循环前缀(Cyclic Prelix,CP)方式时,即将OFDM符号中的后一部分进行复制,加入到OFDM前面,构成一个完整的OFDM符号,保证了发射采样和信道采样的循环卷积性质。

注意到循环卷积的理解,下一节将根据循环卷积原理来对信道进行补偿。

img

至此,已经讲完了CP的作用,以及怎么取。

三、总结

CP在高斯白噪声信道下起不到作用,那么如何看到OFDM在多径瑞利信道传输,CP发挥作用呢?

我们便首先要知道瑞利信道如何进行建模与仿真,之后便可以看到均衡对于信道补偿的作用。我们下次再讲。

也欢迎读者朋友就相关技术问题与我交流,一起学习,共同进步。请你也别忘了把这篇文章分享给你身边正在学习通信专业的同学们,也许能够帮到Ta。这是《陈老湿·通信MATLAB》仿真的第7章,期待下次更新见!


http://chatgpt.dhexx.cn/article/xeam0ur8.shtml

相关文章

信道利用率

版权声明:本文为博主原创文章,遵循 CC 4.0 BY-SA 版权协议,转载请附上原文出处链接和本声明。 本文链接: https://blog.csdn.net/weixin_42682806/article/details/84592569 这又是计算机网络中的一个计算题所在,真题…

无线通信——基于MATLAB实现OFDM系统(信道估计与均衡)

基于MATLAB实现OFDM系统基带信号在频率选择性衰落信道条件下的发送与接收 题目及要求: 仿真系统构成:信号输入(为随机比特流)、OFDM调制、仿真信道传输、OFDM解调、信号输出(可能存在误码的比特率)&#…

信道模型

下面是4种信道模型: 什么是信道模型?信道模型是用数学表达式来描述信道特性的,H_rx_tx,例如h21表示1发2收,下图的n表示噪声加在每个接收天线上,在实际中,很多噪声进入一个接收天线中,例如n1是所…

第7章:OFDM 信道估计与均衡(4)

第7章(4)内容如下: 一、导频结构与图案二、基于导频的信道估计算法和插值方法 本文所有可运行代码下载地址是:123kevin456/OFDM- 一、导频结构与图案 前三讲介绍了OFDM经过AWGN信道和衰落信道的误码率情况,其中在第&…

信道均衡之线性均衡——迫零滤波器

在通讯系统中,信道是影响信号传输质量的最重要因素,而信道均衡目的是则为了消除信道的影响。 一个基带传输的通信系统的简单示意图如图1,数字信号m(n)经过单位冲激响应为ht(t)的发送滤波器后,变成模拟信号 s(t), 然后通过的单位冲…

4.4.5 信道均衡(二)

4.4.5 信道均衡(二) 基本上 《XILINX FPGA的OFDM通信系统基带设计》一书已经带有各部分的代码,我做的工作就是将代码整合到一起,并按照仿真修改,让其能正常工作。本文将对实现中的重点部分做解释,并指出…

基带信号传输之信道均衡

信道中的频域均衡器中,它是用可调滤波器的频域特性去补偿基带系统的频域特性,使系统总的传输函数满足无失真传输条件; 时域均衡器,使用均衡器产生的波形去补偿已经变形的波形,使总的输出波形满足无码间串扰的条件。 …

无线衰落信道、多径与OFDM、均衡技…

参见 张贤达 通信信号处理。OFDM移动通信技术原理与应用,移动通信原理 吴伟陵 目录 无线信道的传播特征 无线信道的大尺度衰落 阴影衰落 无线信道的多径衰落 多径时延与与叠加后的衰落 频率选择性衰落和非频率选择性衰落 符号间干扰ISI的避免 多径信号的时延扩展引…

【通信技术专题:信道均衡器】

| 通信技术 通信技术发展至今,每个人都离不开它的存在。通信系统的核心主要在于物理层,物理层的关键在基带。在通信系统中,逻辑开发工程师主要工作就在基带和射频部分,甚至射频都不在从事的任务内。今天给大家简单讲讲基带接收机…

[培训-无线通信基础-7]:信道均衡器(信道估计、信道均衡)

作者主页(文火冰糖的硅基工坊):https://blog.csdn.net/HiWangWenBing 本文网址:https://blog.csdn.net/HiWangWenBing/article/details/118832368 目录 引言: 第1章 均衡器概述 1.1 什么是均衡器 1.2 如何进行信道估计 第2章 线性均衡器…

4.4.5 信道均衡(一)

4.4.5 信道均衡(一) 一、为什么要信道均衡? 数字信号在实际信道上传输时,由于信道传输特性不理想以及信道噪声的影响,接收端接收到的信号不可避免地发生错误。为了恢复发送的数据信息,接收端需要估计出信道…

信道均衡理论

一、基本概念 什么是均衡? 在得到的 Y [ n ] Y[n] Y[n]当中,存在符号间干扰和噪声。在通信当中,把符号间干扰去掉的技术叫作均衡( equalization)。 横向抽头滤波器 图中 x ( t ) x(t) x(t)为存在符号间干扰的模拟基带信号, y ( t ) y(t) y(…

信道均衡的原理

信道均衡的概念 信道均衡(Channel equalization)是指为了提高衰落信道中的通信系统的传输性能而采取的一种抗衰落措施。它主要是为了消除或者是减弱宽带通信时的多径时延带来的码间串扰(ISI)问题。 其机理是对信道或整个传输系…

千锋python培训多久

千锋Python学员拿下华为月薪25000元14薪offer,还收获了自己的美满爱情。 更赞的是和他一起学的女朋友,也拿下了字节跳动23000元15薪offer。 小千激动的久久不能回神,小两口年薪妥妥的近70万!实力开奖 男生之前的第一个offer是深…

千峰python线下培训

Hello,各位锋迷们,我是小千。 今天周日,给大家推荐千锋金牌讲师宋宋最新出品的一套Python办公自动化教程。 扫码一键直达B站课程学习地址: 传送门:https://m.bilibili.com/video/BV1wA411c7wB 学Python的同学对宋宋老师很熟悉…

千锋培训学python怎么样

很多小白在学习IT技术之前最为苦恼的就是不知道具体学习哪个技术方向,不了解自己的喜好,不知道自己擅长什么,网络检索也得不到很好的意见指导,那么今天就看看千锋Python培训讲师对此是怎么说的吧。 近年来,Python作为编…

千锋教育-加百利 web

千锋教育-加百利:https://space.bilibili.com/31452330?spm_id_from333.788.b_765f7570696e666f.2 cHM6Ly9ibG9nLmNzZG4ubmV0L20wXzQ2NTIyMzY2,size_16,color_FFFFFF,t_70) 快捷键 ul列表li标签:ul>li*11 按下tab ul列表li标签div:ul&…

千峰软件测试学习营 第一章

软件和软件测试 软件和软件分类 软件 程序 数据 文档 注:软件测试既要测试程序,也要测试数据,还要测试文档。 软件的分类 按层次划分(系统软件和应用软件) 按组织划分(商业软件和开源软件)…

云计算培训靠谱吗?

怎么算靠谱的培训呢? 举个例子: 我想参加云计算培训找个工作,机构满足了我的要求,有工作了,但是不是做云计算相关的。 小强也参加了云计算培训,想学好云计算成为技术大牛,最后专业学得普普通…

千峰python培训机构

在数字化经济时代下,推动数字化进程的IT技术成为众多企业竞相掌握的核心技术,编程语言也成为企业研发人员深度学习和研究技术的加速器。Python编辑语言因其高效的数据结构和简单有效的面向编程对象,而成为企业技术开发广泛采用的编程语言。千…