Wi-Fi 安全协议 - WPA

article/2025/10/3 13:10:30

WPA (Wi-Fi Protected Access) 网络安全存取技术

  • WPA具有两种标准:WPA和WPA2,WPA2是WPA的增强型版本,增加了支持AES的加密方式。
    WPA:由于WEP存在安全缺陷,在IEEE 802.11i提出前,Wi-Fi联盟(WFA)先提出了WPA(Wi-Fi Protected Access)技术。
    WPA2:针对无线网络的安全问题,IEEE 802.11i 提出了RSN(Robust Security Network,强健安全网络),Wi-Fi联盟(WFA)把RSN称为WPA2。
  • WPA / WPA2 都加强了密钥生成算法,增加了防止数据被篡改的功能和认证功能。

WPA的链路层加密协议

  • TKIP:Temporal Key Integrity Protocol(临时密钥完整性协议)
  • CCMP:Counter mode with Cipher block chaining Message authentication code Protocol (「计数器模式」搭配「区块密码锁链-信息真实性检查码」协议)

TKIP 临时密钥完整性协议

  • TKIP 是用于升级WEP的方案,它保留了WEP 的基本架构与过程方式。
TKIP 与WEP 的差异
  1. 为了防范初始向量攻击,TKIP 将初始向量(initialization vector,IV) 的长度从24 位元为48 个位元。
  2. TKIP 使用到了多把主钥。最后用来加密帧的密钥,是由这些主钥衍生而来。
  3. TKIP 保留WEP 使用的RC4 帧加密机制,为了防范针对弱点密钥的攻击,通过配钥(key mixing),为每个帧(从主钥)衍生出特有的RC4 密钥.
  4. TKIP 为每个帧编列序号;每次安装新的主钥,初始向量/序号计数器就会被重设为1。每传一个帧,序号计数器就加1。
    TKIP 会保留来自各工作站的最近序号。一旦成功接收到某个帧,就会以之与最近接收到的帧序号进行比对。如果大于前值就予以接受,否则就加以拒绝。
  5. TKIP 通过Michael (Message Integrity Check,MIC)的信息完整性检验算法,取代WEP 使用的线性杂凑算法。
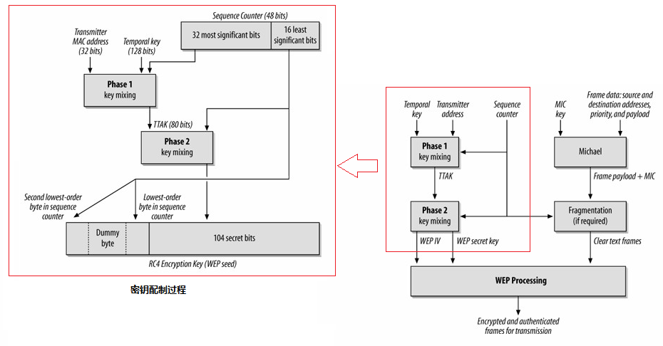
TKIP 的密钥配制(key mixing)过程
  • TKIP 为每个帧配制密钥,密钥衍生自初始向量,序号计数器,帧的发送端地址以及临时密钥

  • 通过配钥(key mixing)可以确保各个帧所使用的密钥彼此间存在显著的差异

  • 阶段一

输入说明
Temporal key(TK)用来加密帧的临时密钥,32位
Transmitter address(TA)源地址,需要用它来进行身份认证,128位
TKIP Sequence Counter(TSC)序号计数器,由驱动程序或硬件所维护,共48位,取其前32位
输出说明
TLIP-mixed Transmit Address and Key(TTAK)密钥混合产物,80位
  • 阶段二
输入说明
TLIP-mixed Transmit Address and Key(TTAK)阶段一的密钥混合产物
TKIP Sequence Counter(TSC)序号计数器,后16 位元为输入项
输出说明
WEP 的随机种子 (WEP Secret Seed)128 位元的RC4 密钥,最后16 位元用来产生一个WEP IV 的高和低位元组
WEP IV 中间的位元组是一个固定的虚设位元组(dummy byte),用来避免产生RC4 弱点密钥。
完整性校验算法
  • 完整性校验算法 由两部分组成
  1. MIC key:MIC密钥,厂商负责实现。负责保护帧内容,TKIP 会衍生出一对密钥,使得「STA 一 AP」和「AP 一 STA」的MIC 密钥不同。
  2. Frame data:MAC帧的源地址(Source address,SA),目的地址(Destination address,DA),优先级(后三位保留未用(Reserved),第一位是Priority(优先性)),数据。
  • MIC算法的输出为Data和MIC,即MIC 附于数据帧之后,然后交付802.11 传送。

在这里插入图片描述

TKIP 的数据发送流程
  1. 将MAC 帧置于待传队列(Queued for Transmission),其中包含了帧标头和负载数据(Payload)。
  2. 根据地址,优先级,数据和MIC密钥,计算信息完整性检验值(Message Integrity Check,MIC)。
  3. 赋予各个帧片段序号。如果帧不需分片,则只要编列一个序号,否则,计数器则会根据分片数量累加。
  4. 每个帧均会以其独有的WEP 密钥进行加密;每个帧所拥有的密钥(Per-frame key)将会传给WEP,以作为IV与密钥之用。
  5. 数据帧 + MIC + RC4 密钥,传给WEP,由WEP 进行帧分封过程。
  6. WEP先利用WEP种子(WEP Secret Seed)和伪随机数产生器(Pseudo Random Number Generator,PRNG)生成密钥流,然后使用XOR操作对DATA和MIC进行异或。

在这里插入图片描述

TKIP 的数据接收流程
  1. 接收到MAC 帧后,如果帧校验程序确认MAC帧没有损毁,就会交给TKIP 进一步的验证。
  2. TKIP 首先检查序号,以防范重演攻击。
  3. 然后还原用来加密封包的WEP 随机种子,再除去帧外围所包覆的WEP 层,然后还原内容。
  4. 如果MAC帧被分段,在重组完整数据之前,必须等到所有片段接收完成。
  5. 帧重组后,根据帧内容计算MIC 值。如果所计算的值与MAC帧记载的MIC值相符,则将帧传递给上层协议,并且将序号设成帧当中所记载的序号。
  6. 工作站检测到MIC 错误的反制措施:
    (1)标记并登录该MIC 错误。
    (2)如果在60 秒通讯之内发生两次以上MIC 错误,则停止所有的TKIP 通讯60秒。
    (3)更新密钥,工作站删除所持有的主钥副本,然后向认证者要求配发新的密钥,认证者负责产生与传递新的密钥。

在这里插入图片描述

TKIP 保护的帧封包格式
  • IV / Key ID:记录了部分的TKIP序号,和目前使用的密钥编号。
  • Extended IV:延伸初始向量,EIV,用来记载其余的序号。
  • MIC:信息完整性检查码,位于承载的数据后,8个字节。
  • WEP ICV:完整性检验值,尽量维持WEP 格式不受变动,4个字节。

在这里插入图片描述


CCMP「计数器模式」搭配「区块密码锁链-信息真实性检查码」协议

  • CCMP(Counter Mode with CBC-MAC Protocol)是以先进加密标准(Advanced Encryption Standard,AES)为基础的链路层安全协议
  • IEEE 802.11i 规定AES 使用128 位元密钥以及128 位元数据区块。
CCMP 的加密流程
输入说明
数据帧 (Plaintext frame)MAC帧,包括Header和Data
临时密钥 (Temporal key)临时密钥,用来加密与确认帧真实性
密钥识别码(Key ID)支持多组密钥,不过每个帧只会使用一把密钥
封包号码(Packet number)用来标识传送的帧,每传一帧,号码就会累加,对于重传帧,则维持不变
中间输出说明
临时随机数(Nonce)数据帧中的数据Data,A2(Address 2),Priority 与 Packet number 构成
附加认证数据(Additional Authentication Data, AAD)由MAC帧的头部信息构成
CCMP Header由Packet number 与 Key ID 构成
加密算法输入加密算法输入
AAD,Nonce,MAC数据,TK(Temporary Key)加密后的Data,消息校验码(Message Integrity Check, MIC)
  • CCMP加密后的MAC帧包括:MAC Header + CCMP Header + 加密的Data + MIC

在这里插入图片描述

CCMP 数据发送流程
  1. 将MAC 帧置于待传队列(Queued for Transmission),其中包含帧标头 (Frame Header)以及承载数据(Payload)。
  2. 给MAC 帧 赋予一个48 位元的封包号码(Packet Number,PN)。每次传送后PN 就会累加,它同时也用来检测重演攻击。
  3. 建立额外认证数据(Additional Authentication Data,AAD)。
  4. 建立Nonce(用过即丢、抛弃式的随机值或乱数),在CCMP 中的Nonce 是由封包号码以及传送端地址构成,因此,不同的工作站也可以使用相同的封包号码。Nonce 同时包含QOS 会用到的优先性数据。
  5. 建立CCMP Header。它会将构成PN(封包号码)的六个位元组拆开,然后将Key ID(密钥识别码)置于其中。
  6. CCM 加密引擎所需要的输入项:128 位元的临时密钥、Nonce、额外认证数据(AAD),MAC帧的Data。
    通过八个字节的MIC(信息完整性检查码)来确保数据的真实性,帧本体与MIC 也经过加密。
  7. 加密帧组成:原始的MAC 标头、CCMP 标头 和 加密数据。

在这里插入图片描述

CCMP 数据接收流程
  1. 接收到帧,如果通过帧检验程序(Frame Check Sequence)确定未曾受损,就会交付CCMP 进行验证。
  2. 从接收到的帧中还原出AAD(额外认证数据),其中只包含帧标头,而且并未经过加密。
  3. 从帧还原出CCMP Nonce,其中包含封包编号、传送端地址以及QOS 字段的内容。
  4. 接收端通过临时密钥,还原的nonce,认证数据,加密过的帧本体来解读密文
  5. 完整性检验是针对明文数据与额外认证数据进行计算。如果计算出的完整性检验值与步骤4 所得到的完整性检验值相符,就继续进行。否则就终止程序。
  6. MAC 标头与步骤4 所还原的数据组成明文帧。如果能通过重放攻击检测检验,其封包号码必须大于或等于最近接收到之通过完整性检验程序的封包号码。

http://chatgpt.dhexx.cn/article/mcdDXL5k.shtml

相关文章

wifi协议-802

WIFI协议 http://standards.ieee.org/about/get/802/802.11.html https://en.wikipedia.org/wiki/IEEE_802 Name Description NoteIEEE 802.1Higher Layer LAN ProtocolsactiveIEEE 802.2LLCdisbandedIEEE 802.3EthernetactiveIEEE 802.4Token busdisbandedIEEE 802.5Defines t…

WIFI无线协议802.11a/b/g/n/ac的演变以及区别

毫无疑问,WiFi的出现普及带给我们巨大的上网便利,所以了解一下WiFi对应的802.11协议的演变和现在不同版本之前的区别也是非常有必要的。 1,常识普及 Wi-Fi是一种允许电子设备连接到一个无线局域网(WLAN)的技术&#…

WiFi各协议理论速度

一、总览 二、11b到11g提升点 802.11g工作在2.4G频段下,能够支持OFDM和CCK两种调制方式,提供16-QAM、64-QAM、BPSK和QPSK四种编码方式,我们通常说的54Mbps速率就是在2.4G频段下,通过OFDM调制,采用64-QAM编码的情况下实…

Wi-Fi 安全协议

无线网络的安全要求 机密性:确保数据不会泄露,防止数据被未经授权的第三者拦截。 帧主体加密机制(frame body encryption):主要用来提供机密性。完整性:确保数据在传输过程中不被修改了。 完整性检验机制&…

图解 802.11wifi协议

微信公号:卢同学 关注可了解更多。若有问题或建议,请与本人联系; 目录 凡事若能综观形势,通常有助于细节的进一步探究 从OSI七层模型来看,802规范的重心放在OSI模型最下面的两层,即数据链路层和物理层。 数据链路层又…

无线协议架构

目录 1 无线协议架构 1.1 用户面 1.2 控制面 2 多无线双链接 3 无线接入网络共享 1 无线协议架构 1.1 用户面 用户面的协议架构如下图所示,SDAP, PDCP, RLC和MAC各层(在gNB的网络端终止)所具…

无线局域网安全协议(WEP、WPA、WAPI)

文章目录 一、WEP(有线等效保密)二、WPA(Wi-Fi网络安全接入)三、WAPI(无线局域网鉴别和保密基础结构) WLAN(Wireless Local Area Network)指应用无线通信技术将计算机设备互联起来&a…

WiFi协议框架

PHY(Port Physical Layer),中文可称之为端口物理层,是一个对OSI模型物理层的共同简称。 PHY连接一个数据链路层的设备(MAC)到一个物理媒介,如光纤或铜缆线。典型的PHY包括PCS(Physic…

Wi-Fi 协议结构

OSI和TCP/IP结构 网络层次说明应用层应用程序间的通信表示层为不同客户端提供数据和信息的语法转换会话层为通信双方制定通信方式,创建和注销会话传输层用于控制数据流量,调试和错误处理网络层为数据传送的目的地寻址,单位packet数据链路层建…

WLAN标准协议

大家在设置路由器的时候可能看到路由器通过802b/g/n协议来传输数据,但是这个协议是标准协议吗?为什么要通过这个协议来传输网络数据发包传输包。 除了802.11标准协议外,在WLAN领域还有一个更常见更常用的名词——Wi-Fi。WiFi是无线保真&#…

WIFI协议详解

本博客整理自网络,仅供学习参考,如有侵权,联系删除。邮箱:rom100163.com。 802.11帧的三种类型: 管理帧:负责监督,主要用来加入或退出无线网络,以及处理基站之间连接的转移事宜。 …

802.11协议:wifi

802.11协议 博客链接:https://www.blog.23day.site/articles/71 一、协议简介 IEEE 802协议簇是指IEEE标准中关于局域网(LAN)和城域网(MAN)的一系列标准。IEEE 802中定义的服务和协议限定在OSI七层网络模型的最低两层…

WiFi/802.11协议简介

什么是WLAN 让我们先了解局域网。LAN表示局域网。它是使用某种媒介连接多台计算机。对于LAN的情况,这种介质将是有线的,包括以太网电缆,光纤等。如左图所示,LAN可以使用以太网交换机或集线器或路由器形成。所有计算机都与此交换机…

Wi-Fi技术

1、Wi-Fi简介 Wi-Fi技术: Wi-Fi是一个创建于IEEE 802.11标准的无线局域网技术。IEEE 802.11是无线局域网通用的标准,它是由电气和电子工程师协会(IEEE)所定义的无线网络通信的标准。虽然经常将Wi-Fi与802.11混为一谈&#xff0…

计算机网络第八版——第一章课后题答案(超详细)

第一章 该答案为博主在网络上整理,排版不易,希望大家多多点赞支持。后续将会持续更新(可以给博主点个关注~ 第二章 答案 【1-01】计算机网络可以向用户提供哪些服务? 解答:这道题没有现成的标准答案,因…

【计算机网络】计算机网络(第八版)谢希仁著 ----你要的答案都在这里

计算机网络:知识点总结(带问号是考题,不带的是知识点) 文章目录 计算机网络:知识点总结(带问号是考题,不带的是知识点)1.互联网的产生?2.三网融合?3.互连网和…

计算机网络试题

一、 TCP/IP协议是一种开放的协议标准,下面哪个不是它的特点 A.独立于特定计算机硬件和操作系统 B.统一编址方案 C.政府标准 D.标准化的高层协议 C [解析] TCP/IP具有以下特点: 1)开放的协议标准&#x…

计算机网络(第七版)部分课后习题含答案

计算机网络(第七版)部分课后习题含答案 第一章 概述 1-02 试简述分组交换的要点。 分组交换最主要的特点就是采用存储转发技术。 我们把要发送的整块数据称为一个报文。在发送报文之前,先把较长的报文划分成为一个个更小的等长数据段&#…

001计算机网络基础习题+答案+解析

一、填空题(每空2分,共20分) _数据链路 层的主要任务是在相邻结点间的线路上无差错地传送以帧为单位的数据。 解析:应用层的任务是:通过应用进程间的交互来完成特定网络应用。 运输层的任务是:负责向两台…

计算机网络原理 谢希仁(第8版)第三章习题答案

3-01 数据链路(即逻辑链路)与链路(即物理链路)有何区别? “链路接通了”与”数据链路接通了”的区别何在? 链路: 是一个结点到相邻节点的物理线路。 数据链路: 数据在线路上传输时,需要协议控制数据的传输,实现协议的硬件和软件…